One Cap to Bottle Them All
One Cap to Bottle Them All
Bringing carbonated beverages beyond the soda fountain required a cap and capping process that are an ASME historical mechanical engineering landmark.
Bottle caps are quite innocuous little things. Pieces in a game, antique collectibles, decorations upon pins and walls, or simply a recyclable bit of trash. But the humble metal bottle cap that still tops glass bottles of soda and beer today is in fact one part of an ASME-designated historical mechanical engineering landmark invented in the 1890s by self-taught mechanical engineer (and ASME member) William Painter in Baltimore.
“That era is referred to as the Second Industrial Revolution or the Technological Revolution,” said Ken Jones, archives research coordinator at the Baltimore Museum of Industry. “So, you had inventions in the time frame like the telephone and wireless communications, the light bulb and alternating current, the internal combustion engine, automobiles, airplanes, and the beginning of talk about the assembly line.”
A significant part of the story is that it took place in Baltimore, Jones noted, as its busy port made the city a hub of commerce: produce, seafood, steel, food and beverage packaging, and more.
“Baltimore had over a hundred breweries at that time, mainly influenced by the large German immigrant population here. The soft drink industry was relatively new—Coca-Cola came around in 1886 and Pepsi in 1898,” Jones continued.
But at that time, such drinks were only available at soda fountains; concoctions dreamed up by grocers and pharmacists for immediate consumption.
“Bottling made the drink portable. You could take it anywhere. And so that really changed all the dynamics of the industry once bottling was introduced,” said Philip Mooney, who served as archivist and historian for The Coca-Cola Company from 1977 until his retirement in 2013.
“Most of them were internal devices. So, you fill the bottle and pull the stopper up from the inside,” Jones said.
They were also unreliable and expensive. Some of the most popular versions at the time were attached to glass bottles, so they could be returned and reused.
“It was notoriously not very good. It had a tendency to break down, to release gases, release product, and just wasn’t a reliable source of security for the product,” Mooney added.
By the 1880s, there were around 150 U.S. patents for bottle stoppers of all kinds. Painter himself developed one in 1882. He patented a disposable single-use bottle seal, which he sold to an associate.
Still, that stopper wasn’t the solution he was after.
Another ASME Landmark: Steam Locomotive Rededication Speaks to its Significance
His next invention was the crimped bottle cap that we know today. This 1892 invention was first called the Crown Cork Seal. That same year, Painter founded the Crown Cork & Seal Company of Baltimore, which is still operating.
The earliest versions of this cap featured a thin cork liner with paper backing that rested on top of the bottle opening to act as the seal. A thin steel cap went over the top, featuring 24 pleats that crimped underneath the bottle’s lip, sealing the beverage inside.
While that inexpensive solution proved revolutionary, the “only drawback to the metal bottle cap was that it didn’t have a piece of equipment that could put the cap on the bottle in a very expeditious fashion,” Mooney said. “So, what most companies had were hand-powered sealers. You would fill the bottle and seal it one at a time. And so that was obviously a very long and potentially tedious process.”
It was also subject to the strength and performance of the person doing the sealing.
“I think the first one he developed was for the beer industry, which is the one we have in the [Baltimore Museum of Industry], which doesn’t have the filling devices on it. It’s just a capper,” Jones said. “And if you think about the machine, especially the soda machine, it’s what we would call today a very ergodynamic design. Everything is in easy reach of the operator.”
The soda machine had two platforms on each side, everything moving in concert from left to right. On the left-hand platform at waist height would be a crate of empty bottles, then on the right was an empty crate to receive full ones.
“So, the uniqueness of it is this was the first machine that did all three things in one machine,” Jones said.
Discover the Benefits of ASME Membership
Rather than filling and sealing one bottle at a time, now operators could fill anywhere from one to two dozen bottles within a minute or two, all without compromising the product within, Mooney explained.
However, adding to the challenge was the fact that bottles at the time weren’t standardized and came in a wide range of sizes and shapes. So, Crown worked with local Baltimore glass companies, selling the tooling necessary to make bottles that could work with the cap and machine, Jones said.
“The lip and the top of the bottle had to be designed so that the crimping came down around it and was nice and tight to provide a good seal,” he added.
It wasn’t long until the bottling industry really took off. Coca-Cola opened its first bottling plant in 1899 in Chattanooga, Tenn. In 1905, Coca-Cola officially transitioned to the Crown cap and machine, which became industry standard.
“We have a catalog from 1902—at that point, he had seven different machines, some for carbonated beverages, some for non-carbonated beverages and beer, some with and without syrup dispensers,” Jones said. “There were also some steam powered ones where they would use steam power and belt drives.”
By then, Painter had also invented an eight-headed automatic electric bottling and capping machine that could handle 60 to 100 bottles a minute.
“Painter introduced the metal bottle cap with the cork sealer in 1892. But like many things, it took a while for it to gain widespread acceptance,” Mooney said. “But once people realized that this was a better process to seal the drink, it was much more sanitary, it was much more stable, it really revolutionized the industry.”
By the 1930s, Crown was selling half of the world’s supply of bottle caps, Jones added.
While caps and the capping process have evolved in the century since, the machinery used today is all based on that initial invention.
More for You: Robot Introduces Technology to Terroir
“Except now they can do hundreds of bottles or cans in a minute, which was not even a possibility at the turn of the century,” Mooney noted. “So yes, we’ve become extremely efficient, but it was all reliant on Painter’s vision for finding efficient ways to create a product that was going to be safe and portable.”
Although they were once an industry staple, today there are very few of Painter’s machines left. One of the original soda machines is at Crown’s headquarters in Tampa, Fla., while the other is on display at the World of Coke in Atlanta.
“They were made out of really substantial materials like cast iron and brass because the sugary syrups and carbonated water can be corrosive. So that was a big challenge, making the machine substantial enough that it would last,” Jones said. “I wouldn’t doubt, knowing what they were made of and knowing that there aren’t that many of them around, that they were probably scrapped during World War II.”
ASME designated the Crown cap and soda machine as a historical mechanical engineering landmark in 1994 for their roles in shaping the beverage bottling industry.
“There is a story that Crown worked with a local brewer in Baltimore to send a case of Crown capped bottles on a ship to South America and back unopened to prove that the caps worked and kept the beer fresh,” Jones said. “At that time when a steamship traveled to South America, it was probably a couple of weeks—when they came back and opened it up, it was fresh. Other than it being told as a story in company literature, I've never found any documentation of that. But it’s a great story.”
Louise Poirier is managing editor.
“That era is referred to as the Second Industrial Revolution or the Technological Revolution,” said Ken Jones, archives research coordinator at the Baltimore Museum of Industry. “So, you had inventions in the time frame like the telephone and wireless communications, the light bulb and alternating current, the internal combustion engine, automobiles, airplanes, and the beginning of talk about the assembly line.”
A significant part of the story is that it took place in Baltimore, Jones noted, as its busy port made the city a hub of commerce: produce, seafood, steel, food and beverage packaging, and more.
“Baltimore had over a hundred breweries at that time, mainly influenced by the large German immigrant population here. The soft drink industry was relatively new—Coca-Cola came around in 1886 and Pepsi in 1898,” Jones continued.
But at that time, such drinks were only available at soda fountains; concoctions dreamed up by grocers and pharmacists for immediate consumption.
“Bottling made the drink portable. You could take it anywhere. And so that really changed all the dynamics of the industry once bottling was introduced,” said Philip Mooney, who served as archivist and historian for The Coca-Cola Company from 1977 until his retirement in 2013.
The cap
The bottling industry faced a significant problem at the end of the 19th century: how to properly seal bottles to preserve the product inside. Most companies used some form of a stopper, as they were called at the time. But they often interacted poorly with carbonated beverages.“Most of them were internal devices. So, you fill the bottle and pull the stopper up from the inside,” Jones said.
They were also unreliable and expensive. Some of the most popular versions at the time were attached to glass bottles, so they could be returned and reused.
“It was notoriously not very good. It had a tendency to break down, to release gases, release product, and just wasn’t a reliable source of security for the product,” Mooney added.
By the 1880s, there were around 150 U.S. patents for bottle stoppers of all kinds. Painter himself developed one in 1882. He patented a disposable single-use bottle seal, which he sold to an associate.
Still, that stopper wasn’t the solution he was after.
Another ASME Landmark: Steam Locomotive Rededication Speaks to its Significance
His next invention was the crimped bottle cap that we know today. This 1892 invention was first called the Crown Cork Seal. That same year, Painter founded the Crown Cork & Seal Company of Baltimore, which is still operating.
The earliest versions of this cap featured a thin cork liner with paper backing that rested on top of the bottle opening to act as the seal. A thin steel cap went over the top, featuring 24 pleats that crimped underneath the bottle’s lip, sealing the beverage inside.
While that inexpensive solution proved revolutionary, the “only drawback to the metal bottle cap was that it didn’t have a piece of equipment that could put the cap on the bottle in a very expeditious fashion,” Mooney said. “So, what most companies had were hand-powered sealers. You would fill the bottle and seal it one at a time. And so that was obviously a very long and potentially tedious process.”
It was also subject to the strength and performance of the person doing the sealing.
The machine
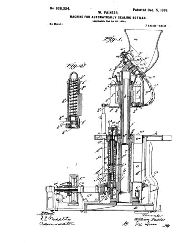
Ever the tinkerer and known for constantly trying to improve his own inventions—he held 85 patents before his death in 1906—Painter invented (and patented) the Crown Soda Machine in 1898. This device, which stood around 5 feet tall and 3 feet wide, allowed an operator to fill bottles first with syrup, followed by carbonated water. The Crown cork cap would then be placed in the bottom of a press, where the operator placed the filled bottle and then pushed on a foot pedal that crimped the cap over the bottle’s opening.“I think the first one he developed was for the beer industry, which is the one we have in the [Baltimore Museum of Industry], which doesn’t have the filling devices on it. It’s just a capper,” Jones said. “And if you think about the machine, especially the soda machine, it’s what we would call today a very ergodynamic design. Everything is in easy reach of the operator.”
The soda machine had two platforms on each side, everything moving in concert from left to right. On the left-hand platform at waist height would be a crate of empty bottles, then on the right was an empty crate to receive full ones.
“So, the uniqueness of it is this was the first machine that did all three things in one machine,” Jones said.
Discover the Benefits of ASME Membership
Rather than filling and sealing one bottle at a time, now operators could fill anywhere from one to two dozen bottles within a minute or two, all without compromising the product within, Mooney explained.
However, adding to the challenge was the fact that bottles at the time weren’t standardized and came in a wide range of sizes and shapes. So, Crown worked with local Baltimore glass companies, selling the tooling necessary to make bottles that could work with the cap and machine, Jones said.
“The lip and the top of the bottle had to be designed so that the crimping came down around it and was nice and tight to provide a good seal,” he added.
The impact
“Those two things—the invention of the Crown Cork seal, the metal bottle cap, and then the machine to actually place the bottle caps on the product—were really game-changing inventions that made the industry work and gave the consumer confidence that what they were getting was something reliable,” Mooney said.It wasn’t long until the bottling industry really took off. Coca-Cola opened its first bottling plant in 1899 in Chattanooga, Tenn. In 1905, Coca-Cola officially transitioned to the Crown cap and machine, which became industry standard.
“We have a catalog from 1902—at that point, he had seven different machines, some for carbonated beverages, some for non-carbonated beverages and beer, some with and without syrup dispensers,” Jones said. “There were also some steam powered ones where they would use steam power and belt drives.”
By then, Painter had also invented an eight-headed automatic electric bottling and capping machine that could handle 60 to 100 bottles a minute.
“Painter introduced the metal bottle cap with the cork sealer in 1892. But like many things, it took a while for it to gain widespread acceptance,” Mooney said. “But once people realized that this was a better process to seal the drink, it was much more sanitary, it was much more stable, it really revolutionized the industry.”
By the 1930s, Crown was selling half of the world’s supply of bottle caps, Jones added.
While caps and the capping process have evolved in the century since, the machinery used today is all based on that initial invention.
More for You: Robot Introduces Technology to Terroir
“Except now they can do hundreds of bottles or cans in a minute, which was not even a possibility at the turn of the century,” Mooney noted. “So yes, we’ve become extremely efficient, but it was all reliant on Painter’s vision for finding efficient ways to create a product that was going to be safe and portable.”
Although they were once an industry staple, today there are very few of Painter’s machines left. One of the original soda machines is at Crown’s headquarters in Tampa, Fla., while the other is on display at the World of Coke in Atlanta.
“They were made out of really substantial materials like cast iron and brass because the sugary syrups and carbonated water can be corrosive. So that was a big challenge, making the machine substantial enough that it would last,” Jones said. “I wouldn’t doubt, knowing what they were made of and knowing that there aren’t that many of them around, that they were probably scrapped during World War II.”
ASME designated the Crown cap and soda machine as a historical mechanical engineering landmark in 1994 for their roles in shaping the beverage bottling industry.
“There is a story that Crown worked with a local brewer in Baltimore to send a case of Crown capped bottles on a ship to South America and back unopened to prove that the caps worked and kept the beer fresh,” Jones said. “At that time when a steamship traveled to South America, it was probably a couple of weeks—when they came back and opened it up, it was fresh. Other than it being told as a story in company literature, I've never found any documentation of that. But it’s a great story.”
Louise Poirier is managing editor.